Flat 50% off on all training & certification courses. Limited time offer Explore courses

Use these filters to find papers

  Question
0

a. Design full adder and draw the circuit using two input NAND gates.

This question has 0 answers so far.
0

 Explain the following canonical form:

ii) F(x, y, z) = (x + 2)(x+y)(y +z)

This question has 0 answers so far.
0

b. Find the minimal POS expression of incompletely specified Boolean function using K-map ,f(a, b, c, d) - M(1, 2, 3, 4, 9, 10) + d(0, 14, 15). 

This question has 0 answers so far.
0

C. Find all the minimal SOP expression of f(a, b, c, d) - (6, 7, 9, 10, 13) + d(1, 4, 5, 11, 1) using k-map. 

This question has 0 answers so far.
0

a. Find all the prime implicants of the function:

f(a, b, c, d) = (7, 9, 12, 13, 14, 15+ d(4, 11) using Quine - MaClusky's algorithm. 

This question has 0 answers so far.
0

(LU Marksb. For a given incomplete Boolearn function, find a minimal sum and minimal product expression using MEV technique taking least significant bit as map entered variable. f(a, b,c,d) = (1, 5, 6, 7,971, 12, 13) + d(0, 3, 4). 

This question has 0 answers so far.
0

a. Implement the function using active low output dual 2 : 4 line decoder IC74139

i) f1(A, B, C) = m(0, 1, 2, 5)

ii) f2(A, B,C) =M(1, 3, 4, 7). 

This question has 0 answers so far.
0

b. Design priority encoder with three inputs, with middle bit at highest priority encoding to 10,most significant bit at next priority encoding to 11 and least significant at least priority ending 01. 

This question has 0 answers so far.
0

a. Define multiplexer and demulitplexer and draw block diagram.

This question has 0 answers so far.
0

b. Design 4 : 1 multiplexer, draw the circuit using gates.

This question has 0 answers so far.
0

c. Explain how will you implement the following function using implementation table,F(A, B, C, D) = m(0, 1, 3, 4, 7, 10, 12, 14) with A, B, C as select lines. 

This question has 0 answers so far.
0

a. Explain the following canonical form:

i) F(x, y, z) = 

This question has 0 answers so far.
0

b.Design and draw the circuit of look ahead carry generator using gates. Draw the block diagram of 4-bit parallel adder using look ahead carry generator. 

This question has 0 answers so far.
0

c. Design single bit magnitude comparator and draw the circuit.

This question has 0 answers so far.
0

a. Obtain the following for SR flip-flop:

i) Characteristic equation

ii) Excitation table

iii) State diagram.

This question has 0 answers so far.
0

b. With the help of a schematic diagram, explain how a serial shift register can be transformed into a i) ring counter ii) Johnson counter.

This question has 0 answers so far.
0

c. Design mod6 synchronous counter using D-flip-flops.

This question has 0 answers so far.
0

a. A sequential network has one input and one output the state diagram is shown in Fig. 7(a).Design the sequential circuit using T flip-flops.

   

This question has 0 answers so far.
0

(a)Derive the transition equations, transition table, state table and state diagram for the following: 


This question has 0 answers so far.
0

Write notes on:

a. Mealy and Moore model 

This question has 0 answers so far.
0

Write notes on:

b. State machine notation. 

This question has 0 answers so far.
0

Design two 4-bit number serial adder.

This question has 0 answers so far.
0

Prove that symmetrical signal has a duty cycle of 50% and find the frequency, low and high duty cycles for asymmetrical signal if it is high for 3 ms and low for 4 ms. 

This question has 0 answers so far.
0

Explain the structure of VHDL/Verilog program.

This question has 0 answers so far.
0

Find the SOP of the following Boolean function using K-map :


This question has 0 answers so far.
0

Simplify f(A B C D) = m(0, 1, 2, 3, 5, 8, 12, 14, 15) using Quine - McClusky method. 

This question has 0 answers so far.
0

Design a 16 : 1 multiplexer using two 8: 1 maultiplexers and one 2 : 1 multiplexers with expressions.

This question has 0 answers so far.
0

With relevant diagram explain n-bit magnitude comparator.

This question has 0 answers so far.
0

Give HDL implementation for 4 : 1 MUX using 'case statement.

This question has 0 answers so far.
0

With state table and state transition diagram, analyse the behaviour of sequential circuit shown in Fig. Q4(b).

                                               

This question has 0 answers so far.
0

With a neat logic and timing diagram, explain the working of a 4-bit SISO register.

This question has 0 answers so far.
0

Name universal gates. Realize basic gates using NAND gate only.

This question has 0 answers so far.
0

Write verilog HDL code for 4-bit SIPO shift register.

This question has 0 answers so far.
0

Design synchronous modulus - 5 (mod -5) counter using JK - Flip-Flop.

This question has 0 answers so far.
0

Explain, design of 4-bit binary ripple - up counter using negative edge triggered JK -flip-flops with block diagram and timing diagram. 

This question has 0 answers so far.
0

With neat diagram explain and compare Mealay and Moore machine.

This question has 0 answers so far.
0

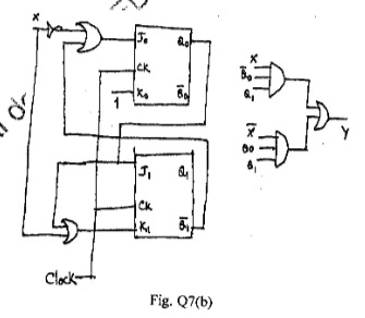
Reduce state transition diagram (Moore model) of Fig. 7(b) by i) Row elimination method ii) implication table method. 

                                            

This question has 0 answers so far.
0

Discuss the two drawbacks of resistive divider used in converting D/A. Draw the schematic for a 4-bit binary ladder and explain how the digital to analog conversion is achieved using it. 

This question has 0 answers so far.
0

Discuss the working of A/D converter:

ii) Counter type A/D.

This question has 0 answers so far.
0

Discuss the working of A/D converter:

i) Successive approximation A/D

This question has 0 answers so far.
0

What do you mean by characteristic equation of 'Flip-flop'? Draw the logic diagram, truth table and explain working of 'JK - Flip-Flop and implement the same using NAND gate. 

This question has 0 answers so far.